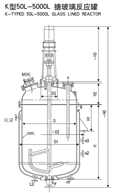
K系列搪玻璃反應釜技術參數:
1.設計壓力:罐體=0.2MPa、0.4MPa、0.6MPa、1.0MPa;夾套=0.6MPa;
2.攪拌器:具有多種型式的攪拌器供用戶選擇;
3.減速機:防爆減速機;
4.軸封:填料密封(0.2MPa)、單端面機械密封((0.4MPa)、雙端面機械密封(O.6MPa l.0MPa);
5.罐體設計壓力超過0.6MPa的搪玻璃反應罐需特殊定貨;
6.K系列反應罐主體尺寸符臺HG/ T2371-92. GB:T 25027-2010標準,并在此基礎上進行了改進。;
K系列搪玻璃反應釜,搪玻璃反應釜的類型有很多,K系列、F系列搪玻璃反應釜、ZF型搪玻璃貯罐(閉式)、ZK型搪玻璃貯釜、ZW型搪玻璃儲罐等,為什么從外形上非常相似的搪玻璃反應罐卻有多種系列呢?
其實搪玻璃反應罐是將含有SiO2的搪瓷釉料噴涂在鋼制容器內表面,經高溫灼燒工藝而牢固地密著于金屬表面上成為復合材料制品,而K系列搪玻璃反應釜的特點則是罐蓋與罐體可以分開的搪玻璃反應罐,之間放密封墊片后通過卡子一周固定。K系列搪玻璃反應釜的優點是使用方便,易于維護維修。具有玻璃的穩定性和金屬強度,K系列搪玻璃反應釜是一種優良的耐腐蝕化工設備,它具有耐腐蝕、抗沖擊、光滑美觀、絕緣耐熱、耐磨、不污染物料、價格低廉等可靠性能。搪瓷反應罐目前被廣泛地應用于化工、石油、醫藥、農藥、食品、染料等工業生產過程,是水解、中和、結晶、混合、乳化等設備。
K系列搪瓷反應釜別稱是K系列搪瓷反應釜,除了名稱不同以外,再有的不同之處就是搪燒的溫度了,搪玻璃搪燒的溫度一般控制在880°-1050°,而搪瓷的搪燒溫度是690°-780°。
淄博福民化工設備公司專業生產50-30000L型號不等的K系列搪玻璃反應釜,如果大家有需要或者在使用、保養、注意事項等方面面有不清楚的地方,都是可以聯系我們的在線顧問,我們會竭誠為您服務。

K系列搪玻璃反應罐的加熱裝置
K系列搪玻璃反應罐在使用過程中會進行加熱,然而設備為更好的到達加熱要求,通常會進行一些加熱裝置的安裝,例如夾套、盤管(內盤管和外盤管)等,其效果原理都是間接加熱,具體的加熱過程有。
1、夾套加熱:蒸汽在外壁和容器壁之間的環形夾套空間循環,熱量經過容器壁中止傳送。
2、盤管加熱:容器中,內盤管管浸沒在制程流體中,外盤管是包裹在釜體外層。
二、琺瑯反響釜的加熱辦法及其特性
1、鍋爐加熱:經過熄滅煤、柴等質料加熱鍋爐內水或油,進入反響釜夾套外面。優點:能耗低、本錢低;缺陷:需專業人士操作,環境凈化大,平安性差,某些國度不允許運用。
2、電加熱:間接在反響釜夾套內刺進發熱管,經過加熱夾套里的油,抵達控溫所需求的溫度。優點:本錢低、環境敵對;缺陷:控溫不準確,發熱管復雜燒,加熱溫渡過高壓力過大會構成爆破等平安事端。
3、導熱油加熱器加熱:導熱油加熱器加熱導熱油經過循環泵循環到反響釜夾套層內,在管路和夾套中止一個周期性的循環。優點:環境敵對、控溫準確、操作便當且無需專人看守,平安功能好,運用壽命長。